Article image
Article image
Article image
Article image

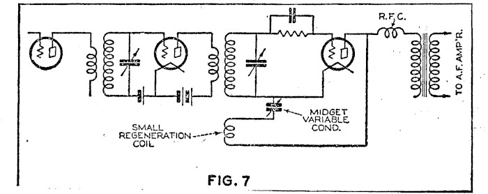
Figure 7. Another circuit arrangement for adding regeneration to the detector circuit. An additional coil of about 20 turns is wound near the f[?]ament end of the r.f. transformer, one side of the coil connecting to the detector plate and the other side to the stator of a 50 mmfd. midget variable condenser.

This article text was automatically generated and may include errors. View the full page to see article in its original form.I whakaputaina aunoatia ēnei kuputuhi tuhinga, e kitea ai pea ētahi hapa i roto. Tirohia te whārangi katoa kia kitea te āhuatanga taketake o te tuhinga.
Permanent link to this item
Hononga pūmau ki tēnei tūemi

https://paperspast.natlib.govt.nz/periodicals/RADREC19310710.2.41.2

Bibliographic details
Ngā taipitopito pukapuka

Radio Record, Volume IV, Issue 52, 10 July 1931, Page 17

Word count
Tapeke kupu
53

Figure 7. Another circuit arrangement for adding regeneration to the detector circuit. An additional coil of about 20 turns is wound near the f[?]ament end of the r.f. transformer, one side of the coil connecting to the detector plate and the other side to the stator of a 50 mmfd. midget variable condenser. Radio Record, Volume IV, Issue 52, 10 July 1931, Page 17

Figure 7. Another circuit arrangement for adding regeneration to the detector circuit. An additional coil of about 20 turns is wound near the f[?]ament end of the r.f. transformer, one side of the coil connecting to the detector plate and the other side to the stator of a 50 mmfd. midget variable condenser. Radio Record, Volume IV, Issue 52, 10 July 1931, Page 17

Log in or create a Papers Past website account

Use your Papers Past website account to correct newspaper text.

By creating and using this account you agree to our terms of use.

Log in with RealMe®

If you’ve used a RealMe login somewhere else, you can use it here too. If you don’t already have a username and password, just click Log in and you can choose to create one.


Log in again to continue your work

Your session has expired.

Log in again with RealMe®


Alert