Article image
Article image
Article image
Article image

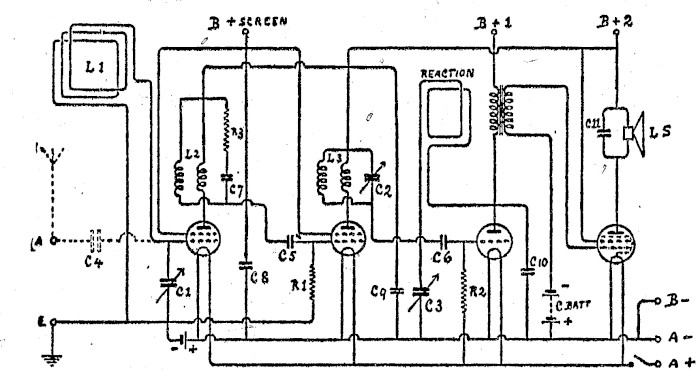
THEORETICAL CIRCUIT DIAGRAM. C1, C2, 0,0005 mfd.; C3, 0.0001 mfd,; C4, 0.0002 mfd,; C5, 0.0005 mfd.; C6, 0.0003 mfd.; C7, 0.0001 mfd.; CS, 0,003 mfd. or larger; C9, 2mfds.; C10, C11, 0.002 mfd.; R1, 2 megs.; R2, 2 megs.; R3, 600 ohms. The 600 ohm resistance R3 should be readily procurable, as resistances of about this value are in common use as series grid resistances, A suitable resistance can, however, be made by winding a few yards of very fine Eureka or other resistance wire round a small flat piece of insulating material.

This article text was automatically generated and may include errors. View the full page to see article in its original form.I whakaputaina aunoatia ēnei kuputuhi tuhinga, e kitea ai pea ētahi hapa i roto. Tirohia te whārangi katoa kia kitea te āhuatanga taketake o te tuhinga.
Permanent link to this item
Hononga pūmau ki tēnei tūemi

https://paperspast.natlib.govt.nz/periodicals/RADREC19291122.2.58.2

Bibliographic details
Ngā taipitopito pukapuka

Radio Record, Volume III, Issue 19, 22 November 1929, Page 29

Word count
Tapeke kupu
93

THEORETICAL CIRCUIT DIAGRAM. C1, C2, 0,0005 mfd.; C3, 0.0001 mfd,; C4, 0.0002 mfd,; C5, 0.0005 mfd.; C6, 0.0003 mfd.; C7, 0.0001 mfd.; CS, 0,003 mfd. or larger; C9, 2mfds.; C10, C11, 0.002 mfd.; R1, 2 megs.; R2, 2 megs.; R3, 600 ohms. The 600 ohm resistance R3 should be readily procurable, as resistances of about this value are in common use as series grid resistances, A suitable resistance can, however, be made by winding a few yards of very fine Eureka or other resistance wire round a small flat piece of insulating material. Radio Record, Volume III, Issue 19, 22 November 1929, Page 29

THEORETICAL CIRCUIT DIAGRAM. C1, C2, 0,0005 mfd.; C3, 0.0001 mfd,; C4, 0.0002 mfd,; C5, 0.0005 mfd.; C6, 0.0003 mfd.; C7, 0.0001 mfd.; CS, 0,003 mfd. or larger; C9, 2mfds.; C10, C11, 0.002 mfd.; R1, 2 megs.; R2, 2 megs.; R3, 600 ohms. The 600 ohm resistance R3 should be readily procurable, as resistances of about this value are in common use as series grid resistances, A suitable resistance can, however, be made by winding a few yards of very fine Eureka or other resistance wire round a small flat piece of insulating material. Radio Record, Volume III, Issue 19, 22 November 1929, Page 29

Log in or create a Papers Past website account

Use your Papers Past website account to correct newspaper text.

By creating and using this account you agree to our terms of use.

Log in with RealMe®

If you’ve used a RealMe login somewhere else, you can use it here too. If you don’t already have a username and password, just click Log in and you can choose to create one.


Log in again to continue your work

Your session has expired.

Log in again with RealMe®


Alert