Article image
Article image
Article image
Article image

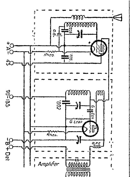
R.F. and Detector Stages

This article text was automatically generated and may include errors. View the full page to see article in its original form.I whakaputaina aunoatia ēnei kuputuhi tuhinga, e kitea ai pea ētahi hapa i roto. Tirohia te whārangi katoa kia kitea te āhuatanga taketake o te tuhinga.
Permanent link to this item
Hononga pūmau ki tēnei tūemi

https://paperspast.natlib.govt.nz/periodicals/RADREC19280629.2.41.2

Bibliographic details
Ngā taipitopito pukapuka

Radio Record, Volume I, Issue 49, 29 June 1928, Page 12

Word count
Tapeke kupu
4

R.F. and Detector Stages Radio Record, Volume I, Issue 49, 29 June 1928, Page 12

R.F. and Detector Stages Radio Record, Volume I, Issue 49, 29 June 1928, Page 12

Log in or create a Papers Past website account

Use your Papers Past website account to correct newspaper text.

By creating and using this account you agree to our terms of use.

Log in with RealMe®

If you’ve used a RealMe login somewhere else, you can use it here too. If you don’t already have a username and password, just click Log in and you can choose to create one.


Log in again to continue your work

Your session has expired.

Log in again with RealMe®


Alert