Thank you for correcting the text in this article. Your corrections improve Papers Past searches for everyone. See the latest corrections.

This article contains searchable text which was automatically generated and may contain errors. Join the community and correct any errors you spot to help us improve Papers Past.

Article image
Article image
Article image
Article image

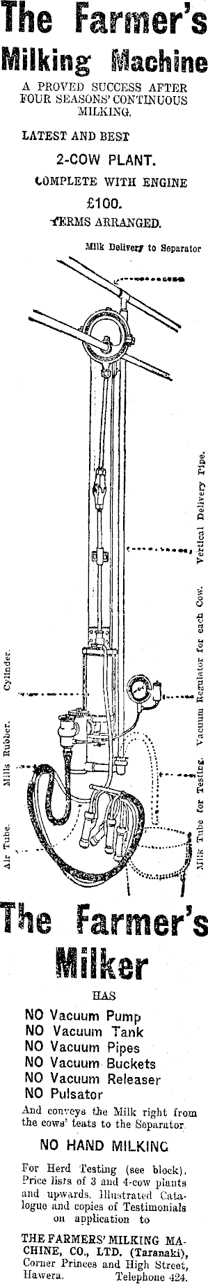
The Farmer's Milking Machine A PROVED SUCCESS AFTER FOUR SEASONS' CONTINUOUS MILKING. LATEST AND BEST 2-COW PLANT. COMPLETE WITH ENGINE £IOO. ■tfERMS ARRANGED. Milk Delivery to Separator S*— ■'"•••••«»• —a The Farmer's Miiker HAS NO Vacuum Pump NO Vacuum Tank NO Vacuum Pipes NO Vacuum Buckets NO Vacuum Releaser NO Pulsator And convoys the Milk right from the cows' teats to the Separator. NO HAND MILKING For Herd Testing (see block). Price lists of 3 aud 4-cow plants and upwards, illustrated Catalogue and copies of Testimonials on application to THE FAKMEES'MILKING MACHINE, CO., LTD. (Taxanaki), Corner Princes and High Street, Havvera. Telephone 424.

IMP CARBOX CHASER CLEANS MOTORS-SAVES PETROL. Keep your engine free from carbon unci get 25 per cent, more miles with no increase In petrol. Imp Carbon Chaser will do this. It cleans the motor while it ia running, and it gives more power because it makes a better gas. Owing to the great success of Imp, numerous imitations are now being offered. Demand the best, proved by 28,000 c*r owners in America. Satisfaction guaranteed A tin containing 20 tablets makes 100 gallons of petrol do the work oi 125 gallons- Use it—only 7s. post free from Caselberg and Co., Ltd., Wellington or dealers. CLINCHES CROSS TYRES are all good—the quality is uniform. Finest rubber, expert, chemists, latest machinery, skilled workmen, all ensure utmost value in the BRITISH CLINCHER CROSS. Trjf a «>t. 8

Permanent link to this item
Hononga pūmau ki tēnei tūemi

https://paperspast.natlib.govt.nz/newspapers/TDN19190228.2.13.5

Bibliographic details
Ngā taipitopito pukapuka

Taranaki Daily News, 28 February 1919, Page 2

Word count
Tapeke kupu
235

Page 2 Advertisements Column 5 Taranaki Daily News, 28 February 1919, Page 2

Page 2 Advertisements Column 5 Taranaki Daily News, 28 February 1919, Page 2

Help

Log in or create a Papers Past website account

Use your Papers Past website account to correct newspaper text.

By creating and using this account you agree to our terms of use.

Log in with RealMe®

If you’ve used a RealMe login somewhere else, you can use it here too. If you don’t already have a username and password, just click Log in and you can choose to create one.


Log in again to continue your work

Your session has expired.

Log in again with RealMe®


Alert